青島快訊 關注民生 服務百姓
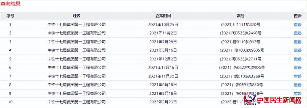
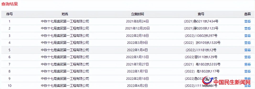
當前位置:首頁 > 娛樂 > 輿情 > 中鐵十七局一公司再被列為失信被執(zhí)行人,屢被限制高消費

最新文章

熱門文章

電話:19053205227

郵件:1165326779@qq.com
地址:青島市香港中路50號國際新聞中心

魯ICP備19018345號-2